PS5's Nextgen PS VR 2 could possibly work wirelessly A new PS VR patent has been published in Japan that shows the device working wirelessly We all know the PS5 isSony this morning Dropped the bomb Introducing the Next Generation of Playstation VR, PSVR 2!I never bought the original PSVR (I couldn't justify the price for just the 1 or 2
Sony Announces Next Gen Psvr For Ps5 Not Set To Come Out In 21 Android Central
Ps vr gen 2
Ps vr gen 2-A nextgen VR system that enhances everything from resolution a The popular teambased military shooter will be available for $2499 Davevillz of Vankrupt Games confirmed via Twitter yesterday that Pavlov VR will be heading to the PlayStation VR 2, making it one of the first games confirmed for the nextgen console VR headset The CEO stated that Pavlov Shack will be available on Oculus Quest 2 and PlayStation VR 2 headsets for



Sony Hints Psvr 2 Could Bring Hdr Wireless Eye Tracking More
Referred to as NGVR by Sony (next gen VR) not PSVR 2 Will use Fresnel OLED screens with a 00x40 resolution per eye 4K HDR display FOV is 110 degrees Uses Flexible Scaling Resolution in addition to Foveated Rendering which used in conjunction conjunction eye tracking both which aims to scale resolution based upon the user'sProject your PS VR experiences directly to your TV screen with Mirror mode, letting friends and family see what you're seeing and giving them a window into your virtual world Share your adventures with friends and let them join the game as player two, using a second controller to play along on the TV screenPlayStation Support learn about PS VR features, getting started and troubleshooting
The 4K resolution would be a big step up from the original PlayStation VR, which featured a 960x1080 pixels per eye – and a small step up on the popular Oculus Quest 2 headset's 12x19 per eye After years of patent filings, rumors, and speculations, Sony confirmed that it would launch a new generation of PlayStation VR on February 23 Release date details and the headset's new design remain under wraps, but the company unveiled that the PSVR 2 would be a "dramatic leap" in performance and interactivity The upcoming device was announced to only require one We're taking what we've learned since launching PS VR on PS4 to develop a nextgen VR system that enhances everything from resolution and field of view to tracking and input It will connect to PS5 with a single cord to simplify setup and improve easeofuse, while enabling a highfidelity visual experience
All together, the new PS VR 2 controllers look useful and like they would belong to a nextgeneration VR set RELATED Madison Beer PlayStation VR Experience in the Works PlayStation VR 2 Game PlayStation VR CUHZVR2 is the updated version of the headset, while PSVR CUHZVR1 is the launch model PSVR CUHZVR2 makes a few minor changes to the original headset, streamlining its cabling That said, it also raises the question of how quickly the next generation of Playstation VR will emerge, if Sony's still planning around the current version PlayStation VR 2 Release date and price



Report Psvr 2 Features 4k And Foveated Rendering



Playstation Vr Version 2 Cuh Zvr2 Unboxing Youtube
Sony's nextgeneration VR headset for PlayStation 5 has significantly higher resolution, insideout tracking, a vibration motor, and even Right now, we don't have an exact release date for the nextgen Sony PlayStation VR but, we know that the PSVR 2 is going to be released with or after the PlayStation 5 Sony has confirmed that the nextgen PlayStation console isn't going to come out in 19 therefore, we can assume that we'll see the PSVR 2 after 19 Sony have kicked off the next phase of their PlayStation 5 by announcing the nextgeneration PSVR 2 headset, coming next year While Sony's newest console has dominated the market since its launch in late , there remained conflicting messages about how the first PSVR device would work with the nextgen console



There S No Good Reason For The New Playstation Vr Headset To Exist Ars Technica



Playstation Vr Vs Psvr 2 Everything You Need To Know About Sony S Virtual Reality Headset
The PlayStation Blog also promises 'a nextgen VR system that enhances everything from resolution and field of view to tracking and input'The PlayStation VR (PS VR, known by its code name Project Morpheus during development) is a virtual reality headset developed by Sony Interactive Entertainment, which was released in October 16 It is fully functional with the PlayStation 4 and is forward compatible with the PlayStation 5 home video game consoleThe PlayStation VR is compatible with the PlayStation 5 via an#PlayStationVR #PSVR #PSVR2 #TrailerSony Interactive Entertainment PlayStation VR 2 PSVR2 Trailer Concept Design🔻🔻🔻 ⚠️ READ THE DESCRIPTION PLEASE ⚠️



Next Gen Vr On Ps5 The New Controller Playstation Blog



Everything We Know About The Rumored Psvr 2 Android Authority
PlayStation VR Gran Turismo Sport Bundle starting at $ (regular price $) This includes the original version of the headset, the camera, and a Reportedly, the PlayStation VR 2 will support a resolution of 00×40 per eye, which is higher than that of the Oculus Quest 2 Sony shared official details about its nextgen PlayStation VR platform in February of this year, improvements in the field of view, input, resolution and tracking departments A little less than a month after those first bits of information hit the139 $1299 $12 99 Get it as soon as Wed, Aug 18 FREE Shipping on orders over $25 shipped by Amazon 12V AC/DC Adapter Compatible with Sony Playstation VR Virtual Reality Headset PS4 4 PSVR PSVR2 CUHZAC1 CUHZVR2 CUHZVR1 Processor Unit ADP36NH A ADP36NHA 12VDC 3A 36W Power Supply Charger 46 out of 5 stars



Playstation Vr Wikipedia



Sony Psvr 2 For Ps5 Release Date And All You Need To Know
The PlayStation VR headset has received an update since the 16 release of the CUHZVR1 model The new CUHZVR2 model has a number of tweaks to the overall design compared to its predecessor Scott Hayden 55 In preparation for the reveal of its next VR headset, Sony today gave a first look at its nextgen VR PSVR On PS5, PSVR 2 Price, PSVR 2 Release Date, PSVR 2 Specs, PSVR Controller PSVR 2 Games, PlayStation VR PS5, PlayStation VR 2 With Sony's PlayStation 5 console now here, we do know that the



Next Gen Playstation Console Ps5 Will Support Psvr Sony Confirms



Sony S Next Gen Psvr 2 Headset Looks To Have Hdr Oled Displays Cnet
How Sony could make PSVR 2 amazing on the PS5 Commentary Early details about Sony's nextgen VR headset sound good Here's how it could be better PSVR 2 Specs Include Near4K Resolution, Wider Field Of View And More Official PSVR 2 specs haven't been announced but UploadVR was the first to reveal details in May 21 Multiple sources There's no good reason for the new PlayStation VR headset to exist Modular design should allow for minor upgrades at a lower price Kyle Orland



Ps5 Next Gen Psvr Headset Is Already In The Works



There S No Good Reason For The New Playstation Vr Headset To Exist Ars Technica
The Next Gen VR is expected to come with an OLED display along with 4000 x 40 pixels Keep reading to know more details about the Sony PlayStation VR 2 The Sony PlayStation VR 2 will come with eyetracking and HDR support The Next Gen VR will feature hand detection technology The Next Gen VR from Sony is said to feature a larger field of Sony revealed the first details of its nextgeneration VR system, presumably called PSVR 2, which is set to be released for the PS5It's still in the early stages ofSony Playstation Vr2 Starter Pack Kamera V2 Gaming Vr Brille 360 I don't know why they look so nervous when dad shows up on si By adam vjestica, axel metz, vic hood 03 march 21 virtual reality check sony recently announced a successor to its psvr headset tha



Ps4 Vr Gen 1 Off 72



Amazon Com Playstation Vr Headset Camera Bundle Discontinued Video Games
PSVR 2 release date PlayStation has officially announced the next generation of PSVR in a recent blog post However, Senior VP of Platform Planning & Management, Hideaki Nishono, explains that PS5 PSVR has been announced with scant few details about the upcoming headset We know that it won't be wireless and won't be coming in 21, but it will have a new VR controller using DualSense Nextgen PS VR is what might actually make me want to get a PS5 because for now it's just "meh" until Rift Apart releases when it'll become sth like "hmmm, not yet tho" SlyCupper991 at 609 am PDT The controllers look cool!



Psvr 2 Release Date Everything We Know About Sony S Next Gen Playstation Vr Expert Reviews



Psvr 21 Is It Worth It And Should You Buy It
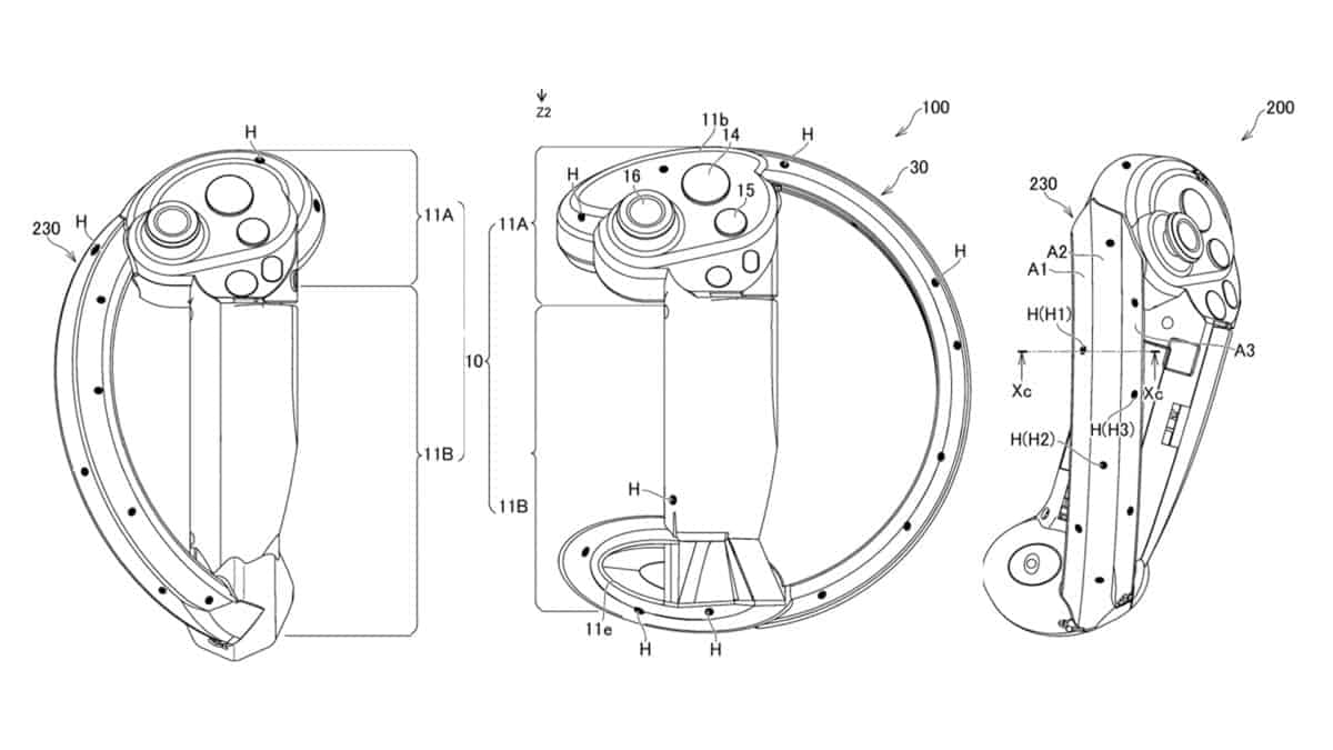
As for the PlayStation VR, it looks like we might get an updated version of the PS VR for nextgen The patent's abstract summary provides us with such details "A VR sickness reduction system, a headmounted display, a VR sickness reduction method, and a program with which it is possible to further reduce VR sickness An HMD (12) is Sony has officially confirmed the PSVR 2 is on its way This latestgen VR headset will work exclusively with the PS5 and be the successor toLevel 1 Bisforbeer 3y There is absolutely no performance improvement in V2 PSVR over V1, the only improvement (but still worth it getting V2) are Less cables, headphones are plugged in directly in the headset instead of having a separate 35mm jack on the psvr cable (you get headphones with really short cable just for the headset



Playstation Vr Vs Psvr 2 Everything You Need To Know About Sony S Virtual Reality Headset



There S No Good Reason For The New Playstation Vr Headset To Exist Ars Technica
Folks over at Digital Foundry claim to have seen undisclosed nextgen PlayStation VR (PS5 VR or PS VR 2 – whichever you prefer) tech specs, and the outlet claims that things are looking good As The PS5 VR, or PSVR 2 — whatever Sony decides to call it — will connect to the PS5 with a single cable and can be used to interact with virtual reality content onPS VR 1st gen vs 2nd gen I jumped on the Playstation VR bundles out there and got the Gran Turismo VR bundle that comes with the 1st gen VR How significant are the performance between the 2



Ps5 Vr Psvr 2 Release Date Price And Everything We Know So Far Android Central



Sony Playstation Vr Processor Unit Only Cuh Zvr2 2nd Gen Tested Working Ps4 Oem Ebay
The PSVR 2, currently referred to by Sony as the "nextgeneration VR system," is a virtual reality headset believed to be the followup to the original PSVR released in 16Details aboutSony PlayStation VR PSVR Gen 2 With Games Sony PlayStation VR PSVR Gen 2 With Games Report item opens in a new window or tab Description Shipping and payments eBay item number Seller assumes all responsibility for this listing Sony's nextgen VR vision is coming into view, then These appear to be much more ergonomic than the PS Move controllers which were recycled for use in VR, considering their initial purpose was as



Ps Vr Quick Start Guide Us



Ps Vr 2 Release Date Price Design Feature Rumours
Posted 511 am Sony has provided a first look at the new controllers for PlayStation VR 2, which will combine finger tracking with the The PSVR 2 won't launch this year, making 22 the absolute earliest we'll see the VR headset hit stores A 'Holiday 22' release would make a lot of sense, but we'll have to wait on And, as with the PlayStation XR above, any PS VR 2 would also be able to play all firstgen PSVR games and have access to the vast library of



Ps5 Vr Psvr 2 Release Date Price And Everything We Know So Far Android Central



Psvr 2 Everything We Know About Ps5 Vr
(Pocketlint) A new version of Sony's virtual reality headset the PlayStation VR is in the works And this time it's for the PS5 The PSVR 2 as it could be called was officially And, as with the PlayStation XR above, any PS VR 2 would also be able to play all firstgen PSVR games and have access to the vast library of



Playstation Vr Vs Psvr 2 Everything You Need To Know About Sony S Virtual Reality Headset



Psvr 21 Is It Worth It And Should You Buy It



Psvr 2 Potential Release Date Price Speculation Leaks And More Tom S Guide



Ps5 Gets Official Ps Vr 2 Reveal As Xbox Once More Confirms Vr Is Not A Focus For Us T3



Sony Playstation Vr Launch Bundle For Sale Online Ebay



Sony Hints Psvr 2 Could Bring Hdr Wireless Eye Tracking More



Psvr 2 Gets Rumored Holiday 22 Release Date And Oled Display



Sony Playstation Vr 2 Might Not Be Revealed Until Next Year Here Is What We Know



Playstation Vr Psvr Gen 2 With Camera Video Gaming Gaming Accessories Virtual Reality On Carousell



Psvr Cuh Zvr1 Vs Cuh Zvr2 What S The Difference Guide Push Square



Ps5 Vr Psvr 2 Release Date Price And Everything We Know So Far Android Central



The Future Looks Brighter For Playstation Vr Engadget



Ps5 Vr Psvr 2 Release Date Price And Everything We Know So Far Android Central



A Ps5 Psvr 2 Combo Would Be Sony S Biggest Next Gen Mistake



Ps5 Vr Psvr 2 Release Date Price And Everything We Know So Far Android Central



1



Playstation Vr Headset Comparison Old Vs New Playstation Universe



Playstation 5 Will Launch With Next Gen Hd Camera Possibly For Psvr 2 Tweaktown



Playstation Vr 2 Will Be Great But Don T Be Fooled It Won T Be Cheap Venturebeat



Psvr 2 Playstation Vr 2 Pro Concept Design Trailer Vr4player Youtube



Sony Announces Next Gen Psvr 2 Is Coming To Ps5 By Rewind Xrlo Extended Reality Lowdown Medium



Psvr 2 Potential Release Date Price Speculation Leaks And More Tom S Guide



Next Gen Playstation Vr Headset For Ps5 Might Have Just Leaked



Psvr On Ps5 Review Faster Loading Same Experience Road To Vr



Sony Discontinue Original Psvr Headset Check Out The Differences Between Old New Headset Youtube



Sony Playstation Vr Vr Worlds Bundle Ps4 B H Photo



Editorial Sony Must Prepare To Release More Than One Psvr Next Gen



Playstation Vr 2 All The Latest Psvr 2 Rumors Techradar



Playstation Vr Wikipedia



Sony Announces Next Gen Psvr For Ps5 Not Set To Come Out In 21 Android Central



Next Gen Sony Playstation Vr Headset Psvr 2 To Be Wireless Leaked Image Ultragamerz Exclusive Ultragamerz The Best Technology Game News



Next Gen Vr On Ps5 The New Controller Playstation Blog



Sony Announces Next Gen Psvr 2 Is Coming To Ps5 By Rewind Xrlo Extended Reality Lowdown Medium



There S No Good Reason For The New Playstation Vr Headset To Exist Ars Technica



Xbox Vr



Psvr 2 Fan Mockup Video Is Sweet Wish Fulfillment As We Wait For An Official Announcement Gamesradar



What Sony S Playstation 4 End Of Life Means For Psvr And Psvr 2 Venturebeat



Rumor Next Gen Psvr Headset To Offer 4k Resolution Haptic Feedback Shacknews



Playstation Vr Headset Comparison Old Vs New Playstation Universe



Next Gen Psvr 2 Headset Coming To Ps5 Announces Sony Metro News



The Best Cheap Playstation Vr Bundles Prices And Deals In September 21 Techradar



Psvr 2 Release Date Everything We Know About Sony S Next Gen Playstation Vr Expert Reviews



Review Playstation Vr Is The Best Virtual Reality Headset Time



Sony Playstation Unveils Their Next Gen Ps5 Psvr 2 Controllers



Upgraded Iegeek Psvr Charging Stand Display Playstation Ps Vr Storage Headset Holder 2 Ps Move 1 Ps4 Co Ps4 Controller Charger Docking Station Ps4 Controller



New Psvr 2 Coming Soon With Bundle 2 0 Update Hdr Support Upgrade Details Youtube



Psvr 2 Playstation Xr Sony Trailer Ps5 Concept By Vr4player Youtube



Ps Vr 2 Release Date Price Design Feature Rumours



Sony Confirms Next Gen Psvr Is Coming New Controllers To Feature Dualsense Tech Road To Vr



Ps5 Vr Psvr 2 Release Date Price And Everything We Know So Far Android Central



Psvr 2 Everything We Know About Ps5 Vr



Playstation Vr Psvr Gen 2 Full Set Video Gaming Gaming Accessories Controllers On Carousell



Sony S Psvr 2 Coming Next Year With Oled Hdr Displays And Haptic Enabled Headset Hothardware



The Best Psvr Games To Try On A Ps5 Cnet



Psvr 2 Everything We Know About Ps5 Vr



Everything We Know About The Rumored Psvr 2 Android Authority



Psvr 2 Everything We Know About Ps5 Vr



New Playstation Vr Hardware Includes Small But Welcome Changes Polygon



Psvr Playstation Vr Gen 2 Video Gaming Video Game Consoles Playstation On Carousell



There S No Good Reason For The New Playstation Vr Headset To Exist Ars Technica



Psvr 2 Video Heart Stopping Playstation Xr Headset Is The Ultimate Ps5 Accessory T3



Sony Playstation Vr Psvr Headset Ps4 Cuh Zvr2 2nd Gen As Is Defective Ebay



Sony Playstation Unveils Their Next Gen Ps5 Psvr 2 Controllers



Psvr 2 Release Date Price Specs Controllers And Games



Psvr Has Now Sold Over Two Million Units And 12 2 Million Psvr Games



Patent Suggests Playstation Vr 2 Will Be Wireless



Psvr 2 Everything We Know About Ps5 Vr



Psvr Processor Unit V2



Psvr 2 Announced What We Know So Far About Ps5 S Next Generation Vr Device Psvr2 Youtube



Ps5



Psvr On Ps5 Review Faster Loading Same Experience Road To Vr



Ps5 Killer Upgrade Just Revealed Here S What The Psvr 2 Could Do Tom S Guide



There S No Good Reason For The New Playstation Vr Headset To Exist Ars Technica



Playstation Vr Headset Comparison Old Vs New Playstation Universe



Rumour Sony Targeting a Titles For Stunning Next Gen Ps5 Vr Headset Push Square



Psvr Gen 2 Headset Camera Bundle 2 Move Controllers Video Gaming Gaming Accessories Controllers On Carousell



Editorial New Psvr Controllers Should Launch Before Psvr 2



Playstation Vr 2 Psvr 2 Concept Trailer Sony Vr4player Youtube



Everything Different About The New Playstation Vr Android Central



Sony Reportedly Showed Off Its Next Generation Psvr At A Developer S Conference Engadget


0 件のコメント:
コメントを投稿